Sound Wiring Diagram Multiple Lights Audio Lights Three Channels Dancing Circuit Seekic Separates Stereo Output Uses Low
Diy sound activated lights circuit diagram. Down lights. Wiring diagram christmas light wire ge lights refrigerator side led miniature sample
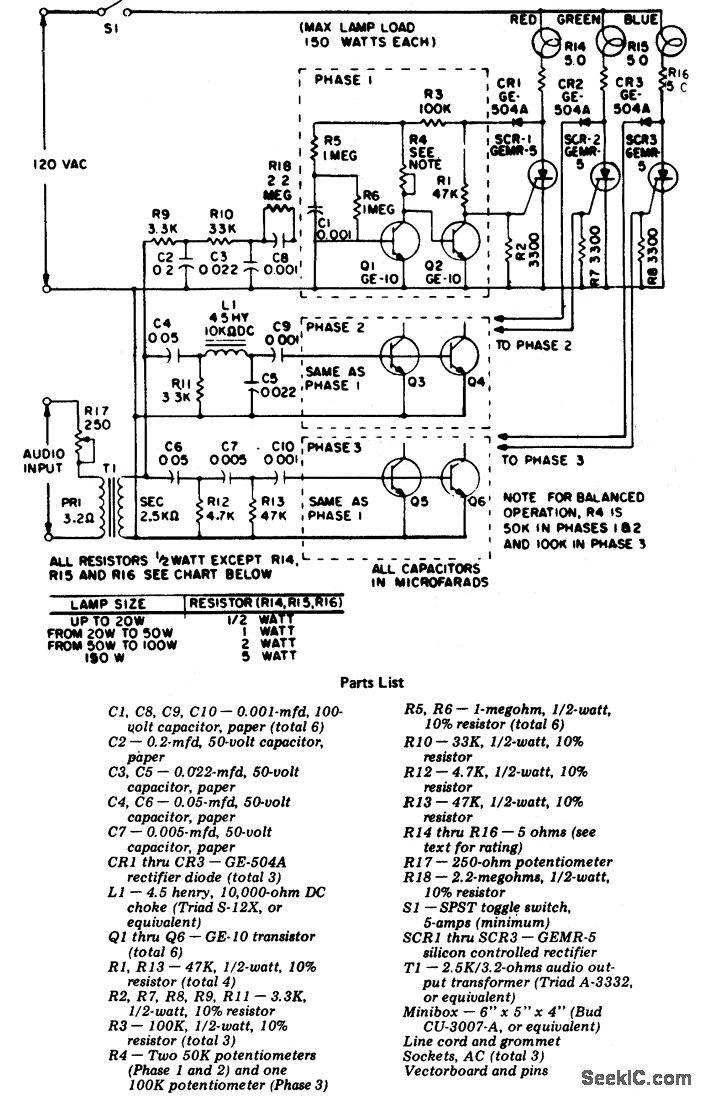
sound wiring diagram multiple lights
Download PDF
Audio light modulator


8-zone premium speaker distribution controller system with headphone. Sound activated light / lamp. Sound activated light schematic diagram. Four way switch to single pole switch help
[DIAGRAM] Stop Light Wiring Diagram 97 Mustang FULL Version HD Quality
Sound Activated Light / Lamp | Electronic Schematic Diagram
Down lights | DIYnot Forums
Sound Activated Light Schematic Diagram - Schematic Design
Audio Light Modulator - Electronics Circuits & Hobby

No comments:
Post a Comment